Emailmeform

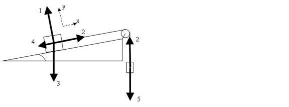
A 1-kg mass on a 10o incline is attached to a suspended 0.6-kg mass. The coefficient of friction on the ramp is 0.35.   What is the magnitude of the acceleration of the system?   Label the forces.

 

Mass on incline

 

Suspended Mass

Forces

X ( )

Y ()

 

Forces

Y(  )

  1   

 

 2

 

  2   

 

 5

 

  3   

 

Fnet2

 

   4  

 

 

 

        Fnet1

 

a= 

   m/s2

 

 

 

 

 

 

 

 

 

 

 

 

Name Freebody15
Image Verification
captcha
Please enter the text from the image:
[ Refresh Image ] [ What's This? ]